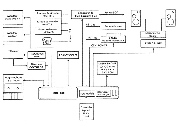
EXELMODEM, La fonction Minitel
Si le matériel EXIL 100 n'a pas toujours reçu un accueil favorable, auprès des enseignants travaillant dans les écoles qui en ont été pourvues, les possibilités du Modem, dont nous allons parler ci-après, devraient leur permettre de réviser (en partie du moins) leur jugement à l'égard de cet ordinateur. ÿ notre époque où la communication joue un rôle de plus en plus grand dans la société, la possibilité de connecter son ordinateur sur le monde extérieur me parait présenter un intérêt certain.
|
FICHE PRATIQUE
|
La «fonction Minitel» de l'Exelmodem permet de connecter votre EXL 100 au réseau téléphonique et de le transformer en un «super Minitel-couleur» à mémoire, vous donnant accès aux services de l'annuaire électronique et à ceux du réseau Télétel.
NUMEROTATION
Celle-ci peut s'effectuer de deux manières
Sur le poste téléphonique
- Composer le numéro de téléphone
- Appuyer sur la touche ESC dès qu'un sifflement se tait entendre dans le combiné (l'appui sur la touche ESC permet de réaliser la connexion ordinateur serveur).
Sur le clavier de l'EXL 100
- Fonction B
L'ordinateur affiche le message «Composez votre numéro»
-Tapez, au clavier, le numéro de téléphone.
-Tapez la lettre après le dernier chiffre du numéro de téléphone (cette lettre indique à l'ordinateur qu'il va se connecter à un centre serveur).
Que vous ayez effectué la numérotation sur le poste téléphonique ou sur le clavier de l'EXL 100, l'ordinateur va se comporter maintenant comme un «vrai» Minitel. Pour interrompre une communication, c'est-à-dire pour se déconnecter, il suffira d'appuyer sur la touche ESC.

MINITEL, PLUS...
Quand vous consultez un service à aide du Minitel, toutes les manipulations doivent être effectuées en mode direct, c'est-à-dire que vous devez rester connecté. Si vous utilisez l'EXL 100, vous allez pouvoir stocker jusqu'à 8 pages-écran en mémoire centrale. II vous sera donc possible de diminuer le temps de connexion au serveur, et par conséquent de diminuer le coût de la communication.
Stockage de pages-écran en mémoire centrale
- Faire Fonction 5 chaque fois que vous désirez stocker une page.
- Appuyer sur ESC pour vous déconnecter du serveur (votre ligne téléphonique est à nouveau disponible).
Visualisation de pages-écran
Une fois déconnecté, vous allez pouvoir faire réapparaître à l'écran les pages que vous venez de stocker en mémoire centrale, Vous aurez alors tout votre temps pour consulter les écrans, puisque vous ne serez plus en ligne.
- Faire Fonction 0 pour visualiser la première page.
- Refaire onction 0 pour voir la page suivante. etc...
Sauvegarde de pages-écran sur imprimante
Un autre avantage de l'ordinateur par rapport au Minitel est la possibilité de sauvegarder une page-écran sur l'imprimante.
- Faire Fonction C pour passer en mode graphique. Dans ce mode, vous obtiendrez une recopie d'écran.
Si cette commande est omise, seuls les caractères alphanumériques seront recopiés à l'imprimante, les caractères graphiques ne le seront pas.
- Faire Fonction 0 (autant de fois que nécessaire) pour choisir la page à imprimer.
- Faire Fonction 9 pour imprimer la page choisie. Quand l'impression de la page est terminée, il est nécessaire de réinitialiser l'ordinateur (il faut appuyer sur le bouton blanc de l'UC.). Pour imprimer une nouvelle page il suffit de reprendre les manipulations à Fonction C.
EXPLOITATION PEDAGOGIQUE
Il existe un grand nombre de serveurs télématiques qui peuvent présenter des écrans intéressants (tant par leur graphisme que par les renseignements qu'ils fournissent). Les manipulations décrites précédemment vous permettront de "copier" sur imprimante les pages qui présentent un intérêt pédagogique.
Par exemple, après avoir composé le 3615 (Télétel 3). tapez CIEL comme code d'accès. Vous êtes alors dans un service Météo.
Tapez TEM (pour température) et appuyer sur "Envoi". Une carte du grand ouest apparaît sur votre écran. Si vous désirez la stocker, faites Fonction 5.
Tapez MA (pour matin) ou SO (pour soir) pour obtenir les relevés de température demandes (matin ou soir). La carte se complète alors avec les températures relevées en divers lieux.
Stockez cette carte (Fonction 5) et déconnectez-vous (touche ESC) Avec un peu d'habitude, cette recherche ne vous prendra qu'une à deux minutes soit un coût de 1 à 2 francs, puisque la taxation actuelle sur Télétel 3 est de une taxe (0,74 F) toutes les 45 secondes. soit environ 1F la minute.
A l'issue de cette consultation, vous pourrez imprimer cette carte (en suivant les indications précédentes). Si vous recommencez cette manipulation plusieurs jours de sue, les élèves peuvent d'ailleurs s'en charger (en suivant éventuellement une fiche guide), vous aurez à votre disposition plusieurs cartes donnant les températures relevées quotidiennement en divers lieux. Vous pourrez alors demander aux élèves de traduire, par exemple sous forme de graphiques, les températures lues sur les différentes cartes.
Bien d'autres serveurs peuvent donner matière à des exploitations pédagogiques. Le répertoire des Services Télétel «LISTEL», disponible chez les marchands de journaux, vous donnera sûrement des idées...
N'oubliez pas les serveurs locaux, ni ceux qui ont été mis en place dans le cadre de l'Education nationale à la suite du plan PT (volet extension télématique).
Pierre Jégou, Education & Informatique n°38 de Mai/Août 1987
|
9 000 EXL 100 dans les écoles, |
